Elemento de sujeción en taladros
con y sin función de centraje
para diámetro del orificio 16 a 46 mm
presión máx. de servicio de 50 hasta 350 bar
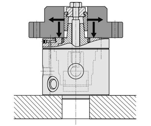
El elemento de sujeción en taladros es apropiado para el centraje y el blocaje de piezas a mecanizar con taladros lisos mecanizados de diámetros de 16 a 46 mm y con una superficie de soporte perpendicular.
El elemento de sujeción en taladros es una combinación de un cilindro de tracción doble efecto con una pinza de sujeción a segmentos, el cual tira un tirante sobre un cono. De este modo la pinza de sujeción a segmentos se ensancha radialmente al diámetro del orificio de la pieza a blocar.
Por el movimiento axial simultaneo se bloca la pieza a mecanizar contra la superficie de apoyo templada al cuerpo. La fuerza de sujeción inclinada realizable depende del factor de fricción dentro del orificio y de la presión de servicio.
| Referencia | Datos CAD | tipo | funcionamiento | presión máx. de servicio [bar] | conexiones hidráulicas | |
|---|---|---|---|---|---|---|
|
Referencia
|
Datos CAD
|
Propiedades
| ||||
|
Referencia
|
Datos CAD
|
Propiedades
| ||||
|
Referencia
|
Datos CAD
|
Propiedades
| ||||
|
Referencia
|
Datos CAD
|
Propiedades
| ||||
|
Referencia
|
Datos CAD
|
Propiedades
| ||||
|
Referencia
|
Datos CAD
|
Propiedades
| ||||
|
Referencia
|
Datos CAD
|
Propiedades
| ||||
|
Referencia
|
Datos CAD
|
Propiedades
| ||||
|
Referencia
|
Datos CAD
|
Propiedades
| ||||
|
Referencia
|
Datos CAD
|
Propiedades
|
| Referencia | Datos CAD | Descripción |
|---|---|---|
|
Referencia
|
Datos CAD
|
Descripción
Tapón de cierre G1/8
con anillo junta para rosca
con héxagono interior SW4
máx. 500 bar, según la hoja del catálogo F9.300
|
|
Referencia
|
Datos CAD
|
Descripción
Tapón de cierre G1/4
con anillo junta para rosca
con héxagono interior SW6
máx. 500 bar, según la hoja del catálogo F9.300
|
|
Referencia
|
Datos CAD
|
Descripción
Junta tórica 8 x 1,5 mm, NBR
según la hoja del catálogo B1.5091
|
|
Referencia
|
Datos CAD
|
Descripción
Pinza de sujeción a segmentos Ø16,0 mm
según la hoja del catálogo B1.481
|
|
Referencia
|
Datos CAD
|
Descripción
Pinza de sujeción a segmentos Ø16,1 mm
según la hoja del catálogo B1.481
|
|
Referencia
|
Datos CAD
|
Descripción
Pinza de sujeción a segmentos Ø16,2 mm
según la hoja del catálogo B1.481
|
|
Referencia
|
Datos CAD
|
Descripción
Pinza de sujeción a segmentos Ø16,3 mm
según la hoja del catálogo B1.481
|
|
Referencia
|
Datos CAD
|
Descripción
Pinza de sujeción a segmentos Ø16,4 mm
según la hoja del catálogo B1.481
|
|
Referencia
|
Datos CAD
|
Descripción
Pinza de sujeción a segmentos Ø16,5 mm
según la hoja del catálogo B1.481
|
|
Referencia
|
Datos CAD
|
Descripción
Pinza de sujeción a segmentos Ø16,6 mm
según la hoja del catálogo B1.481
|
Aproveche nuestra zona de login gratuita:
- Descarga de datos CAD
- Descarga de instrucciones de servicio
¡Bienvenido de nuevo! Inicie sesión con su cuenta de usuario ya existente.'
