Mini bride compacte
double effet, pression de fonctionnement maxi. 200 bars
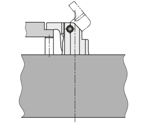
Les mini brides compactes sont prévues pour l'utilisation dans des montages de serrage hydrauliques avec alimentation en huile par des canaux forés dans le corps du montage.
Grâce au petit diamètre du corps de seulement 22 mm, la mini bride compacte peut être installée aux endroits où jusqu'à présent l'espace n'était pas suffisant pour un élément de serrage hydraulique. Pour des montages de serrage multiples, la distance minimale entre les vérins est de 28 mm. Une poche un peu plus grande que la largeur du levier de serrage dans la pièce à usiner est suffisante pour le serrage.
La mini bride compacte hydraulique est un vérin de traction double effet dont une partie de la course linéaire est utilisée pour pivoter le levier de serrage. Afin de minimiser les dimensions, la bride utilisée normalement pour la fixation par vis est supprimée. Au lieu de cela 2 pièces de serrage enclenche dans une rainure radiale dans l'alésage. Lors du montage, ces pièces de serrage s'élargissent radialement par des goupilles accessibles de-dessus. De ce fait, la force de serrage est compensée par fermeture géométrique et sans jeu.
La mini bride compacte peut être tournée dans l'alésage de 360°.
| Référence | Données CAO | type | fonctionnement | pression de fonctionnement maxi. [bars] | joints d'étanchéité | |
|---|---|---|---|---|---|---|
|
Référence
|
Données CAO
|
Caractéristiques
|
| Référence | Données CAO | Description |
|---|---|---|
|
Référence
|
Données CAO
|
Description
Corps de raccordement
pour mini bride compacte 1800-110
filetage de raccordement G 1/8
pression de fonctionnement maxi. 200 bars
selon la page B1.8271 du catalogue
|
|
Référence
|
Données CAO
|
Description
Joint torique 8 x 1,5 mm, NBR
selon la page B1.5091 du catalogue
|
|
Référence
|
Données CAO
|
Description
Couvercle de protection en matière plastique pour M6
selon la page B1.853 du catalogue
|
Bridage d'une pièce en fonte
Profitez des avantages gratuits de notre zone login:
- Téléchargement de données CAO
- Téléchargement des instructions de service
Bienvenue à nouveau ! Connectez-vous à votre compte d’utilisateur déjà existant.

