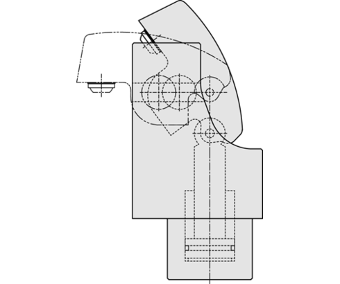
Slide pivot clamp
double acting, max. operating pressure 350 bar
In the case of the slide pivot clamp the piston force is deviated by 180° by the clamping lever and is available as clamping force with virtually no loss of efficiency. Kinematics of the slide pivot clamp allow sliding back of the clamping lever during unclamping for unimpeded insertion of the workpieces.
The position of the clamping lever can be monitored by inductive proximity switches or pneumatic jets. The pivot slide clamp can be installed immersed up to the flange surface in a hole of the fixture body or via intermediate plates which are available as an accessory. For both solutions there is the possibility to supply the hydraulic oil not only by fitting connection but also via drilled channels in the fixture body.
| Item no. | CAD data | type | functioning | max. operating pressure [bar] | seals | |
|---|---|---|---|---|---|---|
|
Item no.
|
CAD data
|
Properties
|
| Item no. | CAD data | Description |
|---|---|---|
|
Item no.
|
CAD data
|
Description
Socket head cap screw
M10 x 55 mm, 12.9
as per data sheet B1.8242
|
|
Item no.
|
CAD data
|
Description
Lock nut M5 x 0.5 mm
as per data sheet B1.8242
|
|
Item no.
|
CAD data
|
Description
Intermediate plate for 1824-040
as per data sheet B1.8242
|
|
Item no.
|
CAD data
|
Description
Screw plug VSD G1/8 ED
max. 400 bar, as per data sheet F9.300
|
|
Item no.
|
CAD data
|
Description
Pneumatic jet M5 x 0.5 mm
as per data sheet B1.8242
|
|
Item no.
|
CAD data
|
Description
Connecting cable
with pnp right angle plug M8
with 2 LED, cable length 5m
as per data sheet G2.140
|
|
Item no.
|
CAD data
|
Description
Inductive proximity switch
PNP, 10...30 VDC
as per data sheet B1.8251
|
|
Item no.
|
CAD data
|
Description
Plug-type connector ND5 - Ø10 x 14 mm
short version, with FKM seals
max. 500 bar, as per data sheet F9.300
|
Slide pivot clamp B1.8242
Take advantage of the free benefits of our login area:
- CAD data download
- Download operating instructions
Welcome back! Log in to your already existing user account.

