Positionsflexible Spannpratze
Siehe Katalogblätter:
- B1.732
- I4.130
Positionsflexible Spannelemente werden zum Stützen und Spannen von labilen Werkstückpartien eingesetzt. Sie passen sich der Position der Spannstelle an, ohne diese zu verformen. Sie wirken schwingungsdämpfend und nehmen Bearbeitungskräfte aus allen Richtungen auf.
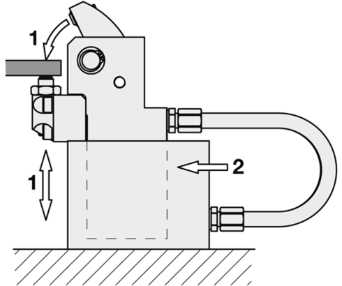
Die positionsflexible Spannpratze besteht aus einem U-förmigen Anschlussgehäuse und der darin verschiebbar gelagerten Spanneinheit, die über zwei kurze Hochdruckschläuche mit Hydrauliköl versorgt werden.
In der beweglichen Spanneinheit ist ein doppelt wirkender Hydraulikzylinder integriert, dessen Sannkraft über den Spannhebel um 180° in die
Werkstückauflage geleitet wird. Diese Auflage ist höhenverstellbar, um Werkstücke unterschiedlicher Dicke spannen zu können.
Nach dem Spannvorgang wird die noch verschiebbare Spanneinheit durch einen einfach wirkenden Zylinder im Anschlussgehäuse festgeklemmt. Im entspannten Zustand schwenkt der Spannhebel soweit zurück, dass er das unbehinderte Be- und Entladen der Spannvorrichtung ermöglicht. Zur Kontrolle des Spannhebels ist eine induktive oder pneumatische Positionskontrolle lieferbar.
| Art.-Nr. | CAD-Daten | Typ | Funktionsweise | max. Betriebsdruck [bar] | Dichtungen | |
|---|---|---|---|---|---|---|
|
Art.-Nr.
|
CAD-Daten
|
Eigenschaften
| ||||
|
Art.-Nr.
|
CAD-Daten
|
Eigenschaften
|
| Art.-Nr. | CAD-Daten | Beschreibung |
|---|---|---|
|
Art.-Nr.
|
Beschreibung
O-Ring 8 x 1,5 mm, FKM
nach Katalogblatt B1.5091
|
|
|
Art.-Nr.
|
CAD-Daten
|
Beschreibung
Verschlussschraube VSD G1/4 A
max. 400 bar, nach Katalogblatt F9.300
|
|
Art.-Nr.
|
CAD-Daten
|
Beschreibung
Anschlusskabel
mit pnp Winkelstecker M8
mit 2 LED, Kabellänge 5m
nach Katalogblatt G2.140
|
|
Art.-Nr.
|
CAD-Daten
|
Beschreibung
Induktiver Näherungsschalter M8x1 mm
Typ B, Kompakt
nach Katalogblatt B1.552
|
|
Art.-Nr.
|
CAD-Daten
|
Beschreibung
Aufnahme für Positionsgeber „Spannwegende“
nach Katalogblatt B1.733
|
|
Art.-Nr.
|
CAD-Daten
|
Beschreibung
Pneumatikdüse M8 x 1 mm
mit Sicherungsmutter
für positionsflexible Spannpratze
nach Katalogblatt B1.733
|
In einer Doppel-Spannvorrichtung für Ölwannen für Automobile.
Jede Ölwanne wird an einem 4. Spannpunkt zusätzlich gespannt und abgestützt.
Nutzen Sie die kostenlosen Vorteile unseres Login-Bereichs:
- Download von CAD-Daten
- Download von Betriebsanleitungen
Willkommen zurück! Melden Sie sich in Ihrem bereits bestehenden Benutzerkonto an.



